Главстраница / Наука / Бюро патентов: собака без собаки
ТОСТЕР
КТО МЫ?Написать письмо

Бюро патентов: собака без собаки

Вот все говорят: Айбо, Айбо, тамагочи, тамагучи. О, дорогие читатели! Признайте, что эти суррогатные порождения японской культуры интересуют вас почти исключительно благодаря чудесвам современного маркетинга. В архивах международных патентов есть вещи куда более заниматльные: например, собака без собаки:

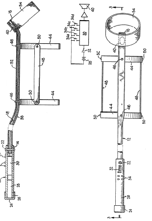
Устройство, изображенное на этой картинке, «служит для создания иллюзии домашнего животного». Жесткий поводок прицеплен к жесткому ошейнику и сохраняет устойчивую форму. В верхней части поводка раcполагается ручка с динамиком (20), который издает во время прогулки лающие и скулящие звуки.

Мы внимательно прочитали описание этого изобретения три раза и, честно говоря, так и не поняли, для кого оно предназначается. По-видимому, это все-таки игрушка, потому что автор ссылается на какую-то искусственную лошадь и на предшествующий патент тридцатилетней давности, в котором говорилось о «поводке, служащем для имитации собаки». В отличие, однако, от той древней инновации, поводок in question должен создавать впечатление, будто на конце поводка и в самом деле помещается пес — даже у людей, лишенных воображения. Для этого (ха-ха) и применяется динамик.

Вообще, конечно, что-то во всем этом есть. Не будем гадать, насколько успешным был бы этот аппарат с коммерческой точки зрения, однако в качестве концептуального искусства конца XX века он явно прошел бы на ура. Главное, что идею можно развить. Монитор без трубки для реабилитации трудоголиков. Тарелка без еды для тех, кто сидит на диете. Обертка без конфеты для того, чтобы учить жизни маленьких негодяев.

В общем, богатая идея.


Читать комментарии
Всего комментариев: 5, непрочитанных: 5
Copyright  ©  2001—2004 «Тостер»