Главстраница / Наука / Радость арахнофила
ТОСТЕР
КТО МЫ?Написать письмо

Радость арахнофила

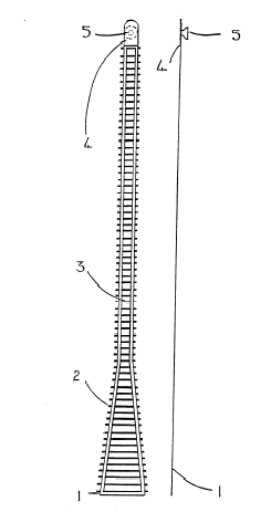
Давайте поиграем с вами в загадки. Как вы считаете, для чего предназначено устройство, чертеж которого вы видите непосредственно под этим абзацем? Для того, чтобы вам было легче, поясним, что это не детская железная дорога с переменным масштабом, не проект телебашни, призванной заменить Останкинскую, и не антенна для того, чтобы ловить секретные сообщения неопознанных летающих объектов.

Что бы вы там не придумали, вы не угадали. Господа! Перед вами — проект уникального патентованного устройства: лестницы для пауков.

Если вы когда-нибудь жили на юге, то знаете, что насекомых в тех местах намного больше, чем туристов в Петербурге, и что далеко не все они выглядят достаточно приятно для того, чтобы их можно было терпеть на расстоянии менее трех метров. Паук размером с минидиск — такое же обычное явление в Крыму, как шашлычная.

С этими пауками часто происходит следующая неприятность: они забираются в ванну и не могут оттуда выбраться. В результате бывает так, что ты приходишь мыться, а в ванной комнате тебя встречает какой-то арахноидный кошмар а-ля Serious Sam.

Вот для этого-то и нужна изображенная на картинке лестница. С помощью присоски она крепится к верхней части ванны, плавно спускаясь к самому дну. В результате попавшие в ловушку пауки тратят немного времени на поиски выхода, а потом бодро маршируют по ступенькам навстречу постылой свободе. Как полагает изобретатель, нижняя расширенная часть лестницы должна увеличивать вероятность того, что паук ее найдет. Это, впрочем, проверить не удастся: кажется, ни одного подобного устройства выпущено так и не было.

Наша редакция пауков просто смывает.


Читать комментарии
Всего комментариев: 17, непрочитанных: 17
Copyright  ©  2001—2004 «Тостер»